找回密码
 立即注册
澳门威尼斯人
U8
U18
海燕招商
A
蓝盾
e世博
islot.
申博亚洲
B
开云
腾博会
德信
C级广告商
吉祥坊
华体会
查看: 183408|回复: 60

[彩票] 【实战有奖】今天在HHgame娱乐城亏损11块大洋

[复制链接]

3192

主题

5万

回帖

1693

金币

钻石用户

积分
133621

万时之王老会员精华勋章美女勋章勤奋勋章交易勋章

发表于 2025-2-12 20:54 | 显示全部楼层 |阅读模式

马上注册,结交更多好友,享用更多功能,让你轻松玩转社区。

您需要 登录 才可以下载或查看,没有账号?立即注册

×
一晃一个年就这样过完了,今天是元宵节,不知道大家的元宵节是如何度过的呢?有什么风俗吗?我这里举行赏花灯,吃汤圆,还有猜灯谜活动。猜中2个灯谜就送一条厚毛巾。猜中4个灯谜就送别的礼物,凡是对2个就有礼物送。大人孩子一起抢着猜,有的家长还拿着谜语去百度,百度不出来就又放回去。哈哈,厉害的家长太多了,兑换了一堆礼物回家,满满的幸福!我去的时候有点晚了,没有多少张谜语,剩下的都是非常难猜的,我猜对一个,还差一个无法兑换礼物,工作人员看我实在猜不出二个,第二个谜语直接告诉我答案了,哈哈,他说不能让我空手回家呀。" t( i* u1 y6 z
$ d3 M( k1 w  S; m/ _% N8 f- |

* w3 W( D/ l8 Q; \' [                               
登录/注册后可看大图
: X: w  }  m- c; t/ o
& C6 s& D4 j* h- s8 \
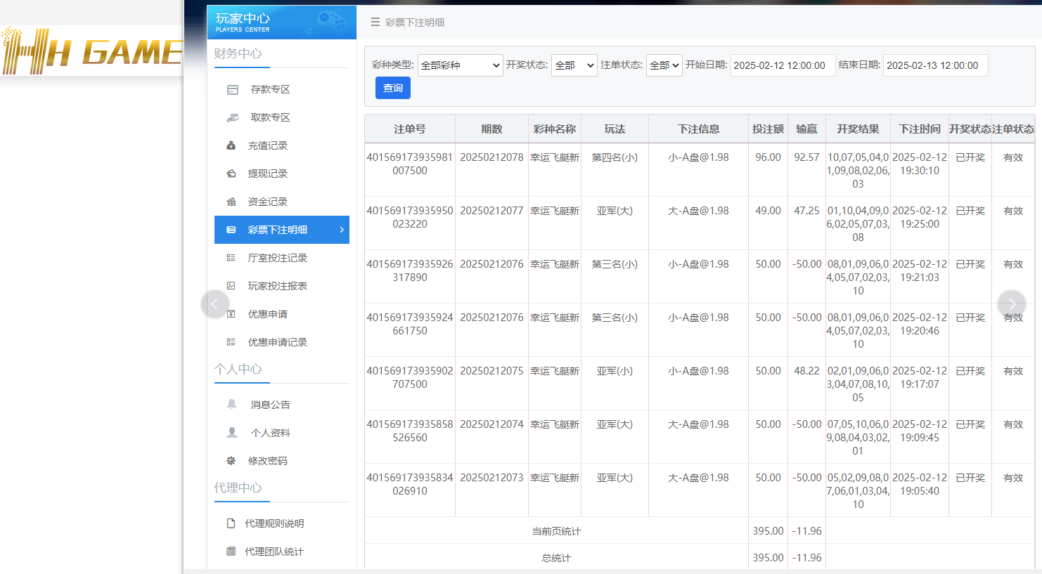
今天猜完谜语回来有点晚了,不过还是去HHgame公司存了200块小玩一下,今天是元宵节,也来完成一下任务先了。$ P3 }. V- E- @( d
先来观察一下路子了,第一把比较看好亚军位置上出大球,前面已出小小小大大小大大?大球出的机会多,还是
* m1 E8 t, z8 ~继续跟一手大球好了,结果这一期开出来了数字02,是小球,第一把就拿下了开门黑了,有点扎心啊。
" d8 x' d1 V' Z* j' u9 `/ L0 @1 l) ?* q$ K6 x
接着比较看好亚军位置上出大球,前面已出小小小大大小大大小?我感觉是双跳的路子,要往大数开出来了,决定反买一手大球,
$ s2 w" U6 r9 B结果开出来数字05,还是小球,又错了一把,真是扎心了啊,亚军的小球连续出两期了,那我继续追小球算了,也许是出! H2 j: V5 J1 M- z3 J  U( B
龙了呢,决定追一把亚军位置上的小球,结果开出来数字01,是小球,我的判断终于是对了,美滋滋啊。& J3 y! J/ h! l8 Z7 F4 O

- g* s5 Z1 h' L" y接下来比较看好第三名位置上出小球,前面已出小小小大小大大大?感觉要反弹小球了,决定博一把小球试试了,结果网络卡了,一下子下了2把. I/ {7 J- h5 P5 m- X
小球,结果开出来数字09,是大球,真的是太悲剧了啊。欲哭无泪了。& X5 H) t' O! t1 g5 z1 p7 `; M
* ^+ o) W7 ?" F. f/ O2 S) \
接下来比较看好第四名位置上出小球,前面已出大小大大大大大?我觉得要反弹小球了,决定博一手小球吧,结果这一期开出来数字04,果然反弹小球了,我的单子也是顺利搞定了。终于把前面输的赢回来了,太开心了,只是亏损11块大洋了,也是无所谓的呢。
! E$ k. R$ t1 E$ i8 `. W( F7 N- e! _8 J* F8 K; |
3 f+ Y8 y6 i7 h3 q2 K0 e" b7 U% o

& ?& b& W  L9 a0 f+ v# L1 H                               
登录/注册后可看大图

: B! Z& H9 y. n2 o, a: ?  n4 {) C) V, e3 H: S* n. i
HH投注.png
, I2 O) T6 L1 J' v
1 b# H( r/ v# b7 ?& U* k" ]' y HH娱乐城.png
& P6 ^' o* U- ]0 P' k! H& V+ }$ B, T" j6 X9 G3 m& E2 _
8 U" a8 f, M- k! d: z
回复

使用道具 举报

480

主题

3万

回帖

4665

金币

铂金用户

积分
84327

老会员美女勋章勤奋勋章交易勋章

发表于 2025-2-12 20:59 | 显示全部楼层
输的不多还是没什么的,很快就可以赢回来的没关系了
回复 支持 反对

使用道具 举报

25

主题

6483

回帖

1239

金币

金牌会员

积分
20972

老会员光影行者

发表于 2025-2-12 21:01 | 显示全部楼层
楼主今天的运气是非常一般的,但是存款不多,只有11大洋的亏损也是没事的
回复 支持 反对

使用道具 举报

2566

主题

5万

回帖

7578

金币

钻石用户

积分
175697

万时之王老会员精华勋章勤奋勋章交易勋章

发表于 2025-2-12 22:44 来自手机 | 显示全部楼层
楼主今天玩彩票运气一般,小亏了十块钱,亏损不多,下次赢回来
回复 支持 反对

使用道具 举报

2566

主题

5万

回帖

7578

金币

钻石用户

积分
175697

万时之王老会员精华勋章勤奋勋章交易勋章

发表于 2025-2-12 22:48 来自手机 | 显示全部楼层
初秋2323a 发表于 2025-2-12 20:59
8 u# S" [* Z$ r* X: K+ U3 I5 q输的不多还是没什么的,很快就可以赢回来的没关系了
: a) q+ z, e$ ~/ A! t- W7 G$ L7 i
只是亏损了11块钱,亏损不大,没有太大影响,希望下次多收米了
回复 支持 反对

使用道具 举报

2566

主题

5万

回帖

7578

金币

钻石用户

积分
175697

万时之王老会员精华勋章勤奋勋章交易勋章

发表于 2025-2-12 22:49 来自手机 | 显示全部楼层
决战夕阳 发表于 2025-2-12 21:01
: K9 Y; T' L7 g3 m2 E楼主今天的运气是非常一般的,但是存款不多,只有11大洋的亏损也是没事的 ...

) [4 N' s+ u# U* `  w& K# H+ R总是会有输有赢的,这次输钱不太多,明天有机会再赢回来的,加油
回复 支持 反对

使用道具 举报

800

主题

2万

回帖

1万

金币

铂金用户

积分
93995

老会员精华勋章魅力达人

发表于 2025-2-13 03:05 来自手机 | 显示全部楼层
楼主这个元宵节过的还是很充实的,即出去感受到了节日的气氛,回来又不耽误实战贴任务真好。
回复 支持 反对

使用道具 举报

800

主题

2万

回帖

1万

金币

铂金用户

积分
93995

老会员精华勋章魅力达人

发表于 2025-2-13 03:10 来自手机 | 显示全部楼层
浴火凤凰 发表于 2025-2-12 22:48. C; E* I6 a% k$ o
只是亏损了11块钱,亏损不大,没有太大影响,希望下次多收米了
1 ?1 o: W/ ~# n2 o+ l) R0 l) x9 O
确实是输的不多,才输11块钱这是可以接受的范围,下次游戏能赢回来的。
回复 支持 反对

使用道具 举报

800

主题

2万

回帖

1万

金币

铂金用户

积分
93995

老会员精华勋章魅力达人

发表于 2025-2-13 03:13 来自手机 | 显示全部楼层
决战夕阳 发表于 2025-2-12 21:01
0 B' O2 n5 ]/ r! A( b楼主今天的运气是非常一般的,但是存款不多,只有11大洋的亏损也是没事的 ...
3 e  h# S/ s' U
确实输的也不算多的了,菠菜游戏这点亏损也是很正常的范围。
回复 支持 反对

使用道具 举报

2313

主题

7万

回帖

7025

金币

海燕硕士

积分
217023

老会员超级精华精华勋章美女勋章勤奋勋章交易勋章万时之王

发表于 2025-2-13 07:16 | 显示全部楼层
最后导致亏损也是比较难受的玩游戏的心情也是不太美丽
回复 支持 反对

使用道具 举报

2313

主题

7万

回帖

7025

金币

海燕硕士

积分
217023

老会员超级精华精华勋章美女勋章勤奋勋章交易勋章万时之王

发表于 2025-2-13 07:16 | 显示全部楼层
linx1978 发表于 2025-2-13 03:13
: V. _9 p$ \8 I& K确实输的也不算多的了,菠菜游戏这点亏损也是很正常的范围。

: k9 k$ N% K/ t; c: X7 Q) ~& Y亏损虽然不多也是钱啊,比起输钱来说这个输钱也是钱
回复 支持 反对

使用道具 举报

2313

主题

7万

回帖

7025

金币

海燕硕士

积分
217023

老会员超级精华精华勋章美女勋章勤奋勋章交易勋章万时之王

发表于 2025-2-13 07:16 | 显示全部楼层
linx1978 发表于 2025-2-13 03:05
! A5 e+ s% L% V5 W- C楼主这个元宵节过的还是很充实的,即出去感受到了节日的气氛,回来又不耽误实战贴任务真好。 ...

; G. T  D/ ~" i: s( B9 D  ^# a6 f# H4 m过去比较充实也是可以的,楼注的生活也是比较丰富的
回复 支持 反对

使用道具 举报

2313

主题

7万

回帖

7025

金币

海燕硕士

积分
217023

老会员超级精华精华勋章美女勋章勤奋勋章交易勋章万时之王

发表于 2025-2-13 07:17 | 显示全部楼层
浴火凤凰 发表于 2025-2-12 22:49
3 L+ k$ t! o! |2 ?1 E- @总是会有输有赢的,这次输钱不太多,明天有机会再赢回来的,加油

+ q4 T% ]  U1 _3 `- S输的不多也是因为自己玩的好啊,这样的情况下也是可以接受的情况
回复 支持 反对

使用道具 举报

2313

主题

7万

回帖

7025

金币

海燕硕士

积分
217023

老会员超级精华精华勋章美女勋章勤奋勋章交易勋章万时之王

发表于 2025-2-13 07:17 | 显示全部楼层
浴火凤凰 发表于 2025-2-12 22:44' n. a8 m6 l0 w( Q. n
楼主今天玩彩票运气一般,小亏了十块钱,亏损不多,下次赢回来

, D' Q& p3 Z% e1 Q9 n  l彩票这个游戏也是比较难玩的,我们也可以继续理解这样的一个心情
回复 支持 反对

使用道具 举报

2313

主题

7万

回帖

7025

金币

海燕硕士

积分
217023

老会员超级精华精华勋章美女勋章勤奋勋章交易勋章万时之王

发表于 2025-2-13 07:18 | 显示全部楼层
初秋2323a 发表于 2025-2-12 20:59
+ L' `2 Q# ]) q! B输的不多还是没什么的,很快就可以赢回来的没关系了

6 S9 O: a: _5 o4 X2 V想要赚回来还是比较困难的,也不是天天可以赚到这样的钱来的
回复 支持 反对

使用道具 举报

您需要登录后才可以回帖 登录 | 立即注册

本版积分规则

广告合作|评测有奖|福利汇|论坛简介|钱包合集|手机版|小黑屋|Archiver|海燕论坛

快速回复 返回顶部 返回列表