找回密码
 立即注册
澳门威尼斯人
U8
U18
海燕招商
A
蓝盾
e世博
islot.
申博亚洲
B
开云
腾博会
德信
C级广告商
吉祥坊
华体会
查看: 25697|回复: 74

[彩票] 【实战有奖】威尼斯人台湾宾果连挂后稳收,亏损2450止步

[复制链接]

77

主题

1万

回帖

5784

金币

千足金牌会员

积分
63071

老会员交易勋章魅力达人

发表于 2025-10-6 16:17 | 显示全部楼层 |阅读模式

马上注册,结交更多好友,享用更多功能,让你轻松玩转社区。

您需要 登录 才可以下载或查看,没有账号?立即注册

×
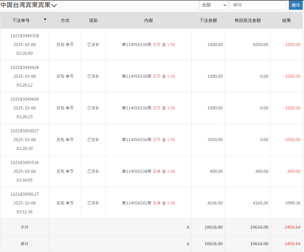
今天下午打了台湾宾果这一轮,整体过程挺曲折,但也算控制住了节奏。大概从下午三点左右开始进场,当时看走势总和“双”连开几期,手痒了,于是轻仓试单。原本打算随便玩玩,结果越看越不对劲,单双频繁切换,让人有点摸不清节奏。6 s, v, W. j& J+ ]  b- _

/ i9 K# {! i* }2 N7 r这轮总共下了六单,前几把基本都在试探走势。结果连续几期都反着来,尤其是那笔3050的“总双”,被直接吃掉,账面一口气红到三千多。那一瞬间心态确实有点晃,手差点又去补仓。后来想到之前吃亏的经验,强行让自己停手,看完那期结果就去洗了个脸。
% e, g9 q7 w: ~( F
$ x. e5 n0 Y3 [4 Z. n/ i回来后重新看走势图,发现节奏有点回稳,于是再上两把“总单”试水。最后一单我加到4166,打的第114056541期,终于中回来了3999.36,这口气算是稳了。整盘下来,亏了2450左右,折合人民币不到两千。
! d6 @/ v+ `! \: }$ @. R: E* d$ ]* N
账面上虽然是负的,但我个人觉得这轮打得比前几次更“成熟”——不是赢多少的问题,而是我终于没再乱追。这次BBIN那边转入了10616,转出回大厅时剩8165,虽然账面亏损,但过程有节制、心态稳,算是一次小考合格。
  w7 m% ]9 a6 {/ y/ P
7 n. X' z5 L+ ?6 ^2 g4 I8 j5 d8 D过去我常常一看挂单就想加码“赢回来”,结果反而输更惨。现在我学会了一件事:赢钱靠机会,止损靠自律。只要不被情绪带走,长期来看反而能少损多赢。
( b8 O! ^' Q* X9 U  P5 {- E6 p" i  R
0 c) m* m+ d. u另外,这轮台湾宾果的走势挺诡异的,总和单双跳得快,没有出现连续7期以上的连号。下午那段时间尤其乱,建议后面玩这盘口的兄弟们注意节奏,不要被短线结果误导。可以像我这样——前几期用小注探路,等走势方向稳定后再加码。
- @, p; L( R: w3 L+ G# x( ?" @; Q2 @
这次我还特地看了下注明细,总金额10616,有效投注全打满,亏损-2450.64。虽然是红的,但我反而挺高兴,因为这说明我守住了底线:没追加、没爆仓。
0 K* ]4 N: B! J- w* Y/ \
7 \& t. P2 {, b$ U# C6 O: ^* |最后总结一句:
. T1 b+ {: n1 K0 k; a6 ^$ N输钱不可怕,乱输才可怕;稳得住,才是真正的赢。
  S8 t. a0 W# P2 }; v2 x" v( o8 z$ D
这两天论坛不少人也在分享台湾盘的节奏,我的经验是——宁可打慢,也不要乱节奏。未来几天我会继续观察走势,等连号或规律性区间出来,再考虑加仓。今天就到这,休息一会,晚上再看情况。
2 \. ~3 `( T; q/ e* X( P6 F. v3 @3 e. |" Z4 z, b. f  I2 z
QQ20251006-160203.png QQ20251006-160102.png
* l0 T3 s* n. w( H1 q8 X! G, u- J8 q6 [- j9 d, a% |" I7 k, X% s

. `& [& T; [% R. u
回复

使用道具 举报

1

主题

4994

回帖

4198

金币

金牌会员

积分
23389

老会员

发表于 2025-10-6 16:22 | 显示全部楼层
楼主亏损了还是要止损,回血了一大半还是挺不错了
回复 支持 反对

使用道具 举报

197

主题

6859

回帖

148

金币

银牌会员

积分
13995

老会员交易勋章

发表于 2025-10-6 17:56 | 显示全部楼层
你还玩这个啊,我是真没玩过这类彩票,是彩票没错吧,止损做到位就好
回复 支持 反对

使用道具 举报

7

主题

1万

回帖

6201

金币

千足金牌会员

积分
57178

光影行者

发表于 2025-10-6 19:37 | 显示全部楼层
3050那把真够呛,能忍住不补仓已经赢一半,节奏乱时洗脸是个好招
回复 支持 反对

使用道具 举报

3359

主题

4万

回帖

610

金币

钻石用户

积分
109206

万时之王老会员勤奋勋章交易勋章

发表于 2025-10-6 19:48 | 显示全部楼层
老哥还是低调点吧, 亏损2450, 也是输太多了, 还是要及时收手,真不敢继续了
回复 支持 反对

使用道具 举报

3359

主题

4万

回帖

610

金币

钻石用户

积分
109206

万时之王老会员勤奋勋章交易勋章

发表于 2025-10-6 19:49 | 显示全部楼层
蔬菜沙拉 发表于 2025-10-6 19:37: k8 k- V; e! x* v
3050那把真够呛,能忍住不补仓已经赢一半,节奏乱时洗脸是个好招

* p; X& s# N* S' l) k+ K玩菠菜还是量力而行吧, 别玩太大了, 输太多了, 也是很影响心情了。
回复 支持 反对

使用道具 举报

3359

主题

4万

回帖

610

金币

钻石用户

积分
109206

万时之王老会员勤奋勋章交易勋章

发表于 2025-10-6 19:49 | 显示全部楼层
二电厂哥 发表于 2025-10-6 17:56% m, A5 B" [2 Z& N
你还玩这个啊,我是真没玩过这类彩票,是彩票没错吧,止损做到位就好
6 `$ T# e3 I# e% v# x
亏损了2450也是输太多了, 这钱能干很多事的了啊, 也是很遗憾了。
回复 支持 反对

使用道具 举报

3359

主题

4万

回帖

610

金币

钻石用户

积分
109206

万时之王老会员勤奋勋章交易勋章

发表于 2025-10-6 19:50 | 显示全部楼层
shunlifeiup 发表于 2025-10-6 16:22+ |8 [8 p1 U2 g. O9 c
楼主亏损了还是要止损,回血了一大半还是挺不错了

# p6 M. ?% K, T3 j& z% x8 G! o2 }+ t+ i损失惨重了呀, 输了这么多, 想回血都是很困难了啊, 还是休息冷静一下吧。
回复 支持 反对

使用道具 举报

334

主题

1531

回帖

4827

金币

银牌会员

积分
13626

老会员交易勋章

发表于 2025-10-6 21:07 | 显示全部楼层
能够及时做到止损啊 还是很不容易的   及时调整吧!
回复 支持 反对

使用道具 举报

50

主题

2万

回帖

5400

金币

千足金牌会员

积分
65943

老会员光影行者

发表于 2025-10-7 02:34 | 显示全部楼层
别急着追,理性把握,稳住节奏,总会有赚钱的时候,节制至关重要
回复 支持 反对

使用道具 举报

50

主题

2万

回帖

5400

金币

千足金牌会员

积分
65943

老会员光影行者

发表于 2025-10-7 02:34 | 显示全部楼层
蔬菜沙拉 发表于 2025-10-6 19:37! ]3 H) w( B, o+ R) A* c
3050那把真够呛,能忍住不补仓已经赢一半,节奏乱时洗脸是个好招
/ r7 i/ |6 L8 ?
3050那把确实有点狼狈,不过威尼斯人台湾宾果稳住节奏,亏损2450也算是及时止损
回复 支持 反对

使用道具 举报

2288

主题

7万

回帖

9101

金币

海燕硕士

积分
219009

老会员超级精华精华勋章美女勋章勤奋勋章交易勋章万时之王

发表于 2025-10-7 05:46 | 显示全部楼层
输掉了2000多块能够止损离开也是比较理智的一个人吧
回复 支持 反对

使用道具 举报

2288

主题

7万

回帖

9101

金币

海燕硕士

积分
219009

老会员超级精华精华勋章美女勋章勤奋勋章交易勋章万时之王

发表于 2025-10-7 05:46 | 显示全部楼层
whywhy 发表于 2025-10-7 02:34
! x& x1 F# a. h( l% V3050那把确实有点狼狈,不过威尼斯人台湾宾果稳住节奏,亏损2450也算是及时止损 ...

/ Y7 ?" Z, M8 _' {; ~反正自己的节奏要把握好,不然输的就是自己的钱
回复 支持 反对

使用道具 举报

2288

主题

7万

回帖

9101

金币

海燕硕士

积分
219009

老会员超级精华精华勋章美女勋章勤奋勋章交易勋章万时之王

发表于 2025-10-7 05:46 | 显示全部楼层
whywhy 发表于 2025-10-7 02:343 l( ~  O: |. U
别急着追,理性把握,稳住节奏,总会有赚钱的时候,节制至关重要
1 L) m' X" N) \, [! ]
这个节奏导致的亏损也是没有办法的事,毕竟输了这么多
回复 支持 反对

使用道具 举报

2288

主题

7万

回帖

9101

金币

海燕硕士

积分
219009

老会员超级精华精华勋章美女勋章勤奋勋章交易勋章万时之王

发表于 2025-10-7 05:46 | 显示全部楼层
莫扎特06 发表于 2025-10-6 19:49
2 ~9 e3 E& D/ v亏损了2450也是输太多了, 这钱能干很多事的了啊, 也是很遗憾了。
, A2 T0 K9 V! q. @% m& e
输的太多也是要想办法把它搞回来,不然也是难受
回复 支持 反对

使用道具 举报

您需要登录后才可以回帖 登录 | 立即注册

本版积分规则

广告合作|评测有奖|福利汇|论坛简介|钱包合集|手机版|小黑屋|Archiver|海燕论坛

快速回复 返回顶部 返回列表